東莞市賽朗密封科技有限公司
手機:13450082237
電話:0769-22210391
傳真:0769-22217692
網址:www.sllseals.com
郵箱:13450082237@163.com
地址:廣東省東莞市東城街道桑園社區(qū)銀貴路6號
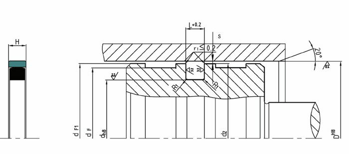
1.OMK-5活塞密封標準材料
密封環(huán):填充聚四氟乙烯F-PTFE
0形圈:丁腈橡膠NBR

2.應用范圍
由一個PTFE矩形截面滑環(huán)和一個作為加載元件的矩形圈組成的雙組合密封圈。此種型式的同軸密封,主要用于重型機械或冶金設備的液壓缸活塞密封系統(tǒng)。如:液壓機、注塑機等。設計選用時可參考Merkel公司OMK-S產品標準。
3.特性及優(yōu)點
1.高的耐摩損性
2.抗間隙擠出的能力強
3.高耐壓特性
4.低摩擦,不會造成“液壓爬行”。
5.采用防扭曲設計,工作性能穩(wěn)定。
6.橡膠的彈性具有高的接觸壓力,抗壓效果好。
